|
Removing the front wheel ![]() |
|||
|---|---|---|---|
|
Order |
Job/Parts to remove |
Q’ty |
Remarks |
|
|
|
|
Use a maintenance stand to raise the front wheel off the ground. |
|
1 |
Front wheel axle pinch bolt |
4 |
Loosen. |
|
2 |
Front wheel axle nut |
1 |
|
|
3 |
Front wheel axle |
1 |
|
|
4 |
Front wheel |
1 |
|
|
5 |
Collar (left) |
1 |
|
|
6 |
Collar (right) |
1 |
|
|
Disassembling the front wheel ![]() |
|||
|---|---|---|---|
|
Order |
Job/Parts to remove |
Q’ty |
Remarks |
|
1 |
Oil seal |
2 |
|
|
2 |
Bearing |
2 |
|
|
3 |
Brake disc |
1 |
|
1.Use a maintenance stand to raise the front wheel off the ground.
|
2.Remove:
Front wheel
1.Remove:
Oil seal
Bearing
a.Clean the outside of the front wheel hub.
b.Remove the oil seals “1” with a flat-head screwdriver.
|

c.Remove the bearings with a bearing puller.
1.Check:
Front wheel axle
Roll the front wheel axle on a flat surface.
Bends → Replace.
|
2.Check:
Tire
Front wheel
Damage/wear → Replace.
Refer to CHECKING THE TIRES and CHECKING THE WHEELS.
3.Check:
Spoke
Refer to CHECKING AND TIGHTENING THE SPOKES.
4.Tighten:
Spoke
Refer to CHECKING AND TIGHTENING THE SPOKES.
|
|
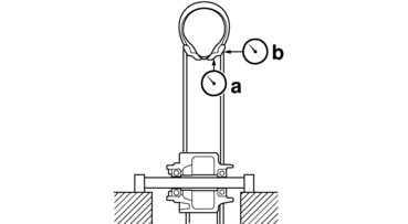
5.Measure:
Radial wheel runout “a”
Lateral wheel runout “b”
Out of specification → Repair/replace.

|
6.Check:
Collar
Damage/wear → Replace.
7.Check:
Bearing
Front wheel turns roughly or is loose → Replace the wheel bearings.
Oil seal
Damage/wear → Replace.
1.Install:
Bearing (left side) “1”
Spacer “2”
Bearing (right side) “3”
Oil seal “4”
|
|

|

2.Install:
Brake disc
Brake disc bolt
|
|
3.Install:
Collar “1”
|

1.Install:
Front wheel
|

2.Install:
Front wheel axle “1”
|

3.Tighten:
Front wheel axle nut “1”
|
|

4.Tighten:
Front wheel axle pinch bolt “1”
|
