|
Removing the handlebar ![]() |
|||
|---|---|---|---|
|
Order |
Job/Parts to remove |
Q’ty |
Remarks |
|
|
Number plate |
|
Refer to GENERAL CHASSIS. |
|
1 |
Handlebar protector |
1 |
|
|
2 |
Clutch cable |
1 |
Disconnect. |
|
3 |
Clutch lever holder |
1 |
|
|
4 |
Handlebar switch (left) |
1 |
|
|
5 |
Brake master cylinder |
1 |
|
|
6 |
Throttle cable housing |
1 |
|
|
7 |
Throttle cable (pull) |
1 |
Disconnect. |
|
8 |
Throttle cable (return) |
1 |
Disconnect. |
|
9 |
Handlebar grip (right) |
1 |
|
|
10 |
Tube guide |
1 |
|
|
Removing the handlebar ![]() |
|||
|---|---|---|---|
|
Order |
Job/Parts to remove |
Q’ty |
Remarks |
|
11 |
Start switch |
1 |
|
|
12 |
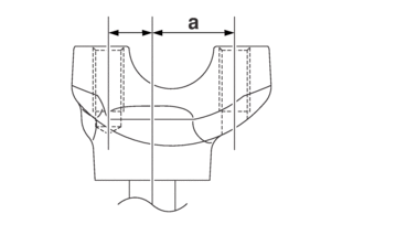
Handlebar grip (left) |
1 |
Install the handlebar grip (left) to the handlebar so that the line “a” between the two arrow marks faces straight upward. |
|
13 |
Upper handlebar holder |
2 |
|
|
14 |
Handlebar |
1 |
|
|
15 |
Lower handlebar holder |
2 |
|
|
16 |
Damper |
4 |
|
1.Stand the vehicle upright on a level surface.
|
2.Remove:
Grip “1”
|

3.Remove:
Throttle cable housing “ 1”
Throttle grip “2”
|

1.Check:
Handlebar
Bends/cracks/damage → Replace.
|
1.Stand the vehicle upright on a level surface.
|
2.Install:
Damper “1”
Lower handlebar holder “2” (temporarily)
Handlebar “3”
Upper handlebar holder “4”
|
|
|







|
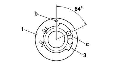
A. |
Routing when installing the damper and lower handlebar in the rear holes |
|
B. |
Routing when installing the damper and lower handlebar in the front holes |
3.Tighten:
Lower handlebar holder nut
|
4.Install:
Clutch lever holder “1”
Clutch lever “2”
|
|

5.Install:
Handlebar switch (left) “1”
Clamp “2”
|
|

6.Install:
Handlebar grip (left) “1”
a.Slightly coat the handlebar left end with a rubber adhesive.
b.Install the handlebar grip (left) on the handlebar by pressing the grip from the left side.
c.Wipe off any excess adhesive with a clean cloth.
|

7.Install:
Clutch cable “1”
|

8.Adjust:
Clutch lever free play
Refer to ADJUSTING THE CLUTCH LEVER FREE PLAY.
|
9.Install:
Handlebar grip (right) “1”
Collar “2”
Apply adhesive to the tube guide “3”.
|


10.Install:
Rubber cover “1”
Throttle grip “2”
|

11.Install:
Throttle cable “1”
|

12.Install:
Throttle cable housing “1”
Screw (throttle cable housing) “2”
|
|


13.Install:
Rubber cover “1”
Cover (throttle cable housings) “2”

14.Install:
Start switch “1”
Front brake master cylinder assembly “2”
Front brake master cylinder holder “3”
Front brake master cylinder holder bolt “4”
Clamp “5”
|
|


15.Adjust:
Throttle grip free play
Refer to CHECKING THE THROTTLE GRIP.
|