|
Removing the rear shock absorber assembly ![]() |
|||
|---|---|---|---|
|
Order |
Job/Parts to remove |
Q’ty |
Remarks |
|
|
Seat |
|
Refer to GENERAL CHASSIS. |
|
|
Side cover (left/right) |
|
Refer to GENERAL CHASSIS. |
|
|
Shroud (left/right) |
|
Refer to GENERAL CHASSIS. |
|
|
Fuel tank |
|
Refer to FUEL TANK. |
|
1 |
Rear shock absorber assembly lower bolt |
1 |
|
|
2 |
Rear shock absorber assembly upper bolt |
1 |
|
|
3 |
Rear shock absorber assembly |
1 |
|
|
4 |
Locknut |
1 |
|
|
5 |
Adjusting nut |
1 |
|
|
Removing the rear shock absorber assembly ![]() |
|||
|---|---|---|---|
|
Order |
Job/Parts to remove |
Q’ty |
Remarks |
|
6 |
Lower spring guide |
1 |
|
|
7 |
Upper spring guide |
1 |
|
|
8 |
Spring |
1 |
|
|
9 |
Dust seal |
2 |
|
|
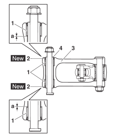
10 |
Collar |
2 |
[“a” = 0.3 mm (0.01 in) or more] |
|
11 |
Bushing |
1 |
|
|
12 |
Bearing |
1 |
|
|
13 |
Collar |
2 |
|
|
14 |
O-ring |
2 |
|
|
15 |
Dust seal |
2 |
|
|
16 |
Bushing |
1 |
|
|
17 |
Stopper ring |
1 |
|
|
Disassembling the relay arm ![]() |
|||
|---|---|---|---|
|
Order |
Job/Parts to remove |
Q’ty |
Remarks |
|
1 |
Relay arm |
1 |
|
|
2 |
Connecting arm |
1 |
|
|
3 |
Collar |
1 |
|
|
4 |
Oil seal |
2 |
|
|
5 |
Bearing |
2 |
|
|
6 |
Washer |
4 |
|
|
7 |
Oil seal |
4 |
|
|
8 |
Collar |
2 |
|
|
9 |
Washer |
4 |
|
|
10 |
Bearing |
4 |
|
|
|
Before disposing the rear shock absorber, be sure to extract the nitrogen gas from valve “1”.
|

1.Use a maintenance stand to raise the rear wheel off the ground.
|
2.Remove:
Rear shock absorber assembly lower bolt “1”
|

3.Remove:
Rear shock absorber assembly upper bolt
Rear shock absorber assembly
1.Check:
Rear shock absorber rod
Bends/damage → Replace the rear shock absorber assembly.
Rear shock absorber
Gas leaks/oil leaks → Replace the rear shock absorber assembly.
Spring
Damage/wear → Replace.
Spring guide
Damage/wear → Replace.
Bearing
Damage/wear → Replace.
Bolt
Bends/damage/wear → Replace.
1.Check:
Connecting arm
Relay arm
Damage/wear → Replace.
2.Check:
Bearing
Collar
Damage/pitting/scratches → Replace the bearings and collars as a set.
3.Check:
Oil seal
Damage/pitting → Replace.
1.Lubricate:
Oil seal
Bearing
Washer
Collar
|
2.Install:
Bearing “1”
Washer “2”
Oil seal “3”
(into the relay arm “4”)
Collar “5”
|

1.Install:
Bearing “1”
Oil seal “2”
(into the connecting arm “3”)
Collar “4”
|

1.Lubricate:
Bearing (lower side)
Dust seal
|
|
2.Lubricate:
O-ring
|
3.Install:
Bushing
Stopper ring
(into the rear shock absorber assembly (upper side))
|
4.Install:
Bearing “1”
Bushing “2”
Collar “3”
Dust seal “4”
(into the rear shock absorber assembly (lower side))
|
|

5.Lubricate:
Connecting arm and frame bolt
Relay arm and connecting arm bolt
Relay arm and swingarm bolt
(circumference and threaded portion)
Rear shock absorber assembly upper bolt
Rear shock absorber assembly lower bolt
|
6.Install:
Rear shock absorber assembly
|
7.Tighten:
Rear shock absorber assembly upper nut
|
Connecting arm nut (frame side)
|
Connecting arm nut (relay arm side)
|
Relay arm nut (swingarm side)
|
Rear shock absorber assembly lower nut
|