|
Removing the lower bracket ![]() |
|||
|---|---|---|---|
|
Order |
Job/Parts to remove |
Q’ty |
Remarks |
|
|
|
|
Refer to CHECKING AND ADJUSTING THE STEERING HEAD. |
|
|
|
|
Use a maintenance stand to raise the front wheel off the ground. |
|
|
Number plate |
|
Refer to GENERAL CHASSIS. |
|
|
Handlebar |
|
Refer to HANDLEBAR. |
|
1 |
Front fender |
1 |
|
|
2 |
Steering stem nut |
1 |
|
|
3 |
Front fork leg |
2 |
Refer to FRONT FORK. |
|
Removing the lower bracket ![]() |
|||
|---|---|---|---|
|
Order |
Job/Parts to remove |
Q’ty |
Remarks |
|
4 |
Upper bracket |
1 |
|
|
5 |
Steering ring nut |
1 |
|
|
6 |
Lower bracket |
1 |
[“a” = Approx. 20.0 mm (0.79 in)] |
|
7 |
Bearing race cover |
1 |
|
|
8 |
Upper bearing |
1 |
|
|
9 |
Bearing race |
2 |
|
|
10 |
Lower bearing |
1 |
|
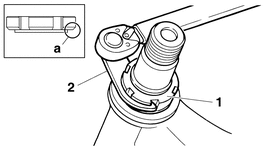
1.Use a maintenance stand to raise the front wheel off the ground.
|
2.Remove:
Ring nut “1”
|
|
|

1.Wash with kerosene:
Bearing
Bearing race
2.Check:
Bearing
Bearing race
Damage/pitting → Replace.
3.Replace:
Bearing
Bearing race
a.Remove the bearing race from the steering head pipe with a long rod “1” and a hammer.
b.Remove the bearing race from the lower bracket with a chisel “2” and a hammer.
c.Install a new bearing race.
|
|


4.Check:
Upper bracket
Lower bracket
(along with the steering stem)
Bends/cracks/damage → Replace.
1.Install:
Lower bearing “1”
|

2.Install:
Bearing race
Upper bearing “1”
Bearing race cover “2”
|

3.Install:
Lower bracket “1”
|

4.Install:
Steering ring nut “1”
|
|
Tighten the steering ring nut with a steering nut wrench “2”.
Refer to CHECKING AND ADJUSTING THE STEERING HEAD.

5.Check the steering stem by turning this lock to lock. If there is any binding, remove the steering stem and check the steering bearing.

6.Install:
Washer “1”

7.Install:
Front fork “1”
Upper bracket “2”
|

8.Install:
Steering stem nut “1”
|
|

9.After tightening the nut, check the steering for smooth movement. If not, adjust the steering by loosening the steering ring nut little by little.
10.Adjust:
Front fork top end “a”
|

11.Tighten:
Upper bracket pinch bolt “1”
|
Lower bracket pinch bolt “2”
|
|
