
|
1. |
Rectifier/regulator |
|
2. |
Mode switch |
|
3. |
Engine stop switch |
|
4. |
Intake air temperature sensor |
|
5. |
Ignition coil |
|
6. |
Battery |
|
7. |
Starter relay |
|
8. |
Fuse |
|
9. |
ECU (Engine Control Unit) |
|
10. |
CCU (Communication Control Unit) |
|
11. |
Fuel pump |
|
12. |
Gear position switch |
|
13. |
Coolant temperature sensor |
|
14. |
Injector |
|
15. |
Throttle position sensor |
|
16. |
Intake air pressure sensor |

|
1. |
Handlebar switch (left) |
|
2. |
Mode switch |
|
3. |
Engine stop switch |
|
4. |
Start switch |
|
5. |
Gear position switch |
Check each switch for continuity with the digital circuit tester. If the continuity reading is incorrect, check the wiring connections and if necessary, replace the switch.
|
|
|

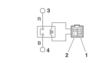
Terminal connections of the switch are shown in the terminal connection diagram below.
The switch positions “a” are shown in the far left column and the switch lead colors are shown in the top row in the switch illustration.
|
The example illustration below shows that:
There is continuity between red and brown when the switch is “ON”.

The following procedure applies to all of the fuses.
1.Remove:
Seat
Side cover (left)
Refer to GENERAL CHASSIS.
2.Check:
Fuse “1”

a.Connect the digital circuit tester to the fuse and check the continuity.
|
|
b.If the digital circuit tester indicates “O.L”, replace the fuse.
3.Replace:
Fuse
a.Install a new fuse of the correct amperage rating.
b.Push the start switch to verify if the electrical circuit is operational.
c.If the fuse immediately blows again, check the electrical circuit.
|
Fuses |
Amperage rating |
Q’ty |
|---|---|---|
|
Main |
15 A |
1 |
|
Spare |
15 A |
1 |
|
4.Install:
Seat
Side cover (left)
Refer to GENERAL CHASSIS.
|
|
|
Charging (activation) steps
1.Remove:
Seat
Refer to GENERAL CHASSIS.
2.Disconnect:
Battery leads
(from the battery terminals)
|
3.Remove:
Battery
4.Connect the battery charger (special tool) to the battery.
|
|
5.Charge the battery until it is fully charged.
6.Install:
Battery
7.Connect:
Battery lead
(to the battery terminals)
|
8.Check:
Battery terminal
Dirt → Clean with a wire brush.
Loose connection → Connect properly.
9.Lubricate:
Battery terminal
|
10.Install:
Seat
Refer to GENERAL CHASSIS.
Checking the battery
|
|
1.Check:
Battery
a.If the battery is hot, wait until the battery has cooled down to the ambient temperature.
b.Measure the voltage between the battery terminals.
13.25 V or more → The battery is normal. Checking is finished.
Less than 13.25 V → Go to step (c).
c.Connect the battery charger (special tool) to the battery and charge it.
|
|
d.If the battery is hot, wait until the battery has cooled down to the ambient temperature.
e.Measure the voltage between the battery terminals.
13.25 V or more → The battery is normal. Checking is finished.
10 V or more and less than 13.25 V → Perform from step (c) again.
Less than 10 V → Replace the battery.
|
1.Turn off the main switch.
2.Replace the ECU (Engine Control Unit).
Refer to GENERAL CHASSIS.
3.Reset the ECU (Engine Control Unit).
Use the diagnostic code number “87”.
Refer to DIAGNOSTIC CODE: SENSOR OPERATION TABLE.
|
4.Check:
Engine idling speed
Start the engine, warm it up, and then measure the engine idling speed.
|
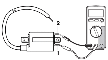
Check each switch for continuity with the digital circuit tester. If the continuity reading is incorrect, replace the relay.
|
1.Disconnect the relay from the wire harness.
2.Connect the digital circuit tester (Ω) and battery (12 V) to the relay terminal as shown.
Check the relay operation.
Out of specification → Replace.
Starter relay

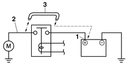
|
1. |
Positive battery terminal |
|
2. |
Negative battery terminal |
|
3. |
Positive tester probe |
|
4. |
Negative tester probe |
|
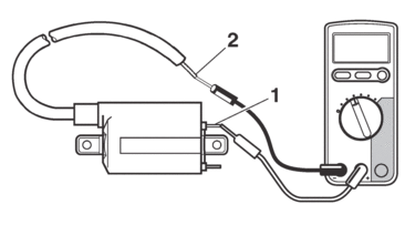
1.Check:
Diode 1
Out of specification → Replace.
|
|
|
a.Disconnect the diode from the wire harness.
b.Connect the digital circuit tester (Ω) to the diode coupler as shown.
c.Check the diode for continuity.
d.Check the diode for no continuity.

1.Check:
Ignition spark gap
Out of specification → Perform the ignition system troubleshooting, starting with step (5).
Refer to TROUBLESHOOTING.
|
|
a.Remove the spark plug cap from the spark plug.
b.Connect the ignition checker “1” as shown.
|
c.Crank the engine, and measure the ignition spark gap “a”.

|
2. |
Spark plug cap |
d.Crank the engine, and gradually increase the spark gap until a misfire occurs.
1.Remove:
Spark plug cap
(from the spark plug lead)
2.Check:
Spark plug cap resistance
Out of specification → Replace.
|
a.Connect the digital circuit tester (Ω) to the spark plug cap.
|

b.Measure the spark plug cap resistance.
1.Disconnect:
Ignition coil terminal
(from the wire harness)
Spark plug cap
(from the ignition coil)
2.Check:
Primary coil resistance
Out of specification → Replace.
|
a.Connect the digital circuit tester (Ω) to the ignition coil.
|
|

b.Measure the primary coil resistance.
3.Check:
Secondary coil resistance
Out of specification → Replace.
|
a.Connect the digital circuit tester (Ω) to the ignition coil.
|
|

b.Measure the secondary coil resistance.
1.Disconnect:
Crankshaft position sensor coupler
(from the wire harness)
2.Check:
Crankshaft position sensor resistance
Out of specification → Replace.
|
a.Connect the digital circuit tester (Ω) to the crankshaft position sensor coupler.
|
|

b.Measure the crankshaft position sensor resistance.
1.Check:
Mounted condition of ECU
Improperly mounted → Remount.
|
1.Check:
Starter motor operation
Does not operate → Perform the electric starting system troubleshooting, starting with step (3).
Refer to TROUBLESHOOTING.
a.Connect the positive battery terminal “1” and starter motor lead “2” with a jumper lead “3”.
|

b.Check the starter motor operation.
1.Disconnect:
Stator coil assembly coupler
(from the wire harness)
2.Check:
Stator coil assembly resistance
Out of specification → Replace.
|
a.Connect the digital circuit tester (Ω) to the stator coil assembly coupler.
|
|

b.Measure the stator coil assembly resistance.
1.Check:
Rectifier/regulator output voltage
Out of specification → Replace.
|
a.Set the digital tachometer to the ignition coil.
|
b.Connect the digital circuit tester (DCV) to the rectifier/regulator coupler.
|
|

c.Start the engine and let it run at about 5000 r/min.
d.Measure the output voltage.
1.Remove:
Coolant temperature sensor
|
2.Check:
Coolant temperature sensor resistance
Out of specification → Replace.
|
a.Connect the digital circuit tester (Ω) to the coolant temperature sensor.
|
|

b.Immerse the coolant temperature sensor in a container filled with coolant.
|
c.Place a thermometer in the coolant.
d.Slowly heat the coolant, and then let it cool to the specified temperature indicated in the table.
e.Check the coolant temperature sensor for continuity at the temperatures indicated in the table.

1.Check:
Throttle position sensor input voltage
Out of specification → Replace the throttle position sensor.
|
a.Connect the test harness S– pressure sensor (3P) to the throttle position sensor coupler and the wire harness.
b.Connect the digital circuit tester (DCV) to the test harness S– pressure sensor (3P).
|
|

c.Start the engine.
d.Measure the throttle position sensor input voltage.
|
1.Remove:
Intake air temperature sensor
(from the air filter case)
|
2.Check:
Intake air temperature sensor resistance
Out of specification → Replace.
|
a.Connect the digital circuit tester (Ω) to the intake air temperature sensor terminal.
|
|

1.Remove:
Gear position switch
2.Check:
Gear position switch
Out of specification → Replace.
|
|

1.Remove:
Fuel injector
Refer to THROTTLE BODY.
2.Check:
Fuel injector resistance
Out of specification → Replace.
|
a.Disconnect the fuel injector coupler from the fuel injector.
b.Connect the digital circuit tester (Ω) to the fuel injector coupler.
|
|

c.Measure the fuel injector resistance.
If the indicator light flashes orange, check and service the items or components that are the possible cause of the malfunction.

|
1. |
Orange |
|
2. |
Approx. 1 second |
|
3. |
1 second |
Indicator light flashes orange fast
|
Fail-safe system |
Possible cause |
Actions |
|---|---|---|
|
Unable to start engine Unable to cranking engine |
Throttle position sensor failure |
Replace the throttle position sensor. |
|
Intake air pressure sensor failure |
Replace the intake air pressure sensor. |
|
|
Ignition coil failure |
Replace the ignition coil. |
|
|
Injector failure |
Replace the injector. |
|
|
Vehicle has overturned |
Raise the vehicle upright. |
|
|
ECU failure |
Replace the ECU. |
Indicator light flashes orange slow
|
Fail-safe system |
Possible cause |
Actions |
|---|---|---|
|
Able to drive vehicle |
Defective gear position switch |
Replace the gear position switch. |
|
Defective intake air pressure sensor |
Replace the intake air pressure sensor. |
|
|
Defective throttle position sensor |
Replace the throttle position sensor. |
|
|
Defective intake air temperature sensor |
Replace the intake air temperature sensor. |
|
|
Defective coolant temperature sensor |
Replace the coolant temperature sensor. |
|
|
Defective vehicle system power supply Defective fuel system power supply |
Replace the wire harness. |
|
|
Defective writing on EEPROM Defective ECU |
Replace the ECU. |